
操作手册
冷
冻离心机
3-18KS
请请保留,以备以后使用
如果询问,请注明以下号码:
订货号:
系列号:
SIGMA Laborzentrifugen GmbH
An der Unteren Söse 50
D-37520 Osterode am Harz
德国
电话: +49 (0) 5522/5007-0
传真: +49 (0) 5522/5007–12
网站:www.sigma-zentrifugen.de
邮箱: service@sigma-zentrifugen.de
客服:
请用在线服务申请形式:
www.sigma-zentrifugen.de→[客服区]
电话: +49 (0) 5522/5007-84 25
传真: +49 (0) 5522/5007-94 25
邮箱: service@sigma-zentrifugen.de
目 录 表
目 录 表
目 录 表
11 简 介
简介
1.1操作手册的重要性
离心机操作安全和故障排除的必要条件是熟悉重要安全指南和所有可能的危险。
操作手册提供了离心机安全操作的相关重要提示。
操作手册特别标注了所有离心机使用者都必须注意的安全和危险。
另外,必须遵守当地的法律法规,以防意外发生。
1.2预期用途
离心机是电力驱动的设备,利用离心力从固体物质、液体混合物、或固体混合物中分离液体。该设备仅用于此目的。任何超出此应用领域的其它用途均视为不当使用。
任何不当使用造成的损害,SIGMA Laborzentrifugen GmbH 不承担任何责任。
预期用途也包括:
包含在操作手册中所有注意和操作指南,以及
遵守护理、清洗和维护指南。
1.3质保和赔偿责任
质保和赔偿责任按照操作者合同中的“一般情况”的限制。
质保和赔偿责任声明不包含如下内容:
使用不当
未遵守操作手册中的安全指南和危险警告
不正确安装、启动、操作,及离心机的不正确保存
11 简 介
.4版权
操作手册的版权归Sigma Laborzentrifugen GmbH公司所有。
操作手册仅供操作者及其他相关人员所有,操作手册上的信息和说明不能:
复制
散发,或
以任何方式传播
既不能全部也不能部分。
对违反者追究其刑事责任。
1.5标准与法规
EC一致性声明(参见第11.6章节 – “EC一致性声明”)。
1.6供货范围
离心机基本配置如下:
转子扳手(13号) 部件编号930 100
1支承重螺栓润滑油 部件编号70 284
20ml腐蚀防护油 部件编号70 104
连接电缆 取决于不同的电压
随机文件:
操作手册包括EC一致性声明
配件
取决于客户订单、订单确认、和提货单。
22 设计和操作模式
设计和操作模式
2.1 离心机的设计
2.1.1 功能及操作部件
1 离心机盖
2
用户界面(参见第6.3.1章节-“用户界面”)
3 电源开关
图 1:离心机整体视图
4 铭牌(参见第2.1.2章节-“铭牌”)
5 电源线
6 等电位连接螺丝
图 2:离心机后视图
2 设计和操作模式
2.1.2铭牌
1
.制造商和注册公司
2.型号
3.序列号
4.最大速度
5.最大动能
6.最大密度
7.额定电压
8.输入保险
9.特殊处理标志(见第9章)
10.CE标识,与官方的2006/42/EC一致
11.零件号码
12.制造日期 图 3:铭牌图例
13.功率
22 设计和操作模式
.2 操作模式
2.2.1 离心原理
离心是一个将混合物(悬浊液、乳浊液或混合气体)分离为各自组分的过程。混合物以环形路线旋转,受到比重力加速度大数倍的向心加速度。
离心机利用转子腔内的质量惯性来分离样品。密度大的颗粒或介质以更大的惯性向外移动,低密度的组分相对其运动则是向中心移动。
离心机内的物体向心加速度,由向心力产生,取决于物体和离心轴之间的距离及角速度。线性增加是与离心轴之间距离的一个功能,二次方增加是一个角速度的功能。转子腔内的半径越大,转速越高,向心加速度就越大。但是,驱动转子的力也需要增加。
2.2.2 应用领域
根据离心机的应用领域以及物质颗粒大小、固体物含量和被离心混合物的体积通量,来选择不同的离心机。
应用领域从作为一个家用的沙拉搅拌机或蜂蜜分离器到临床、生物或生化等的专业技术研究:
用于各种临床试验,细胞成分必须从液体中分离出来才能进行研究。利用实验室离心机可以极大的提高常规分离过程的速度。
用于金属加工工业,离心机可将分离金属切割物上的油分离下来。牛奶厂用离心机将牛奶分离成奶油和低脂奶。
大型离心机用于制糖工业,从结晶糖中分离糖浆。
超速离心机被显著用于生物和生化领域,分离诸如病毒的粒子。这种离心机专门设计为转速高达500000rpm,转子在真空状态下运行以免空气摩擦。
2 设计和操作模式
2.2.2.1 转速、离心半径和相对离心力
拿加速度g举例,可以通过增加转子腔的半径和增加转速来提高加速度。这三个参数通过以下公式相互关联、相互影响:
相对离心力RCF = 11.18 x 10-6 x r x n2
r = 半径 cm
n = 转速rpm
RCF 无尺寸
如果给定两个参数值,第三个参数值可由上述公式得出。如果转速或离心半径改变,将重新计算RCF值。在转子确定的情况下,如果改变RCF值,在离心半径确定的情况下,转速就要发生相应改变。
转速—重力加速度—示意图显示了转速、离心半径及相对离心力之间的关系(参见第11.2章节,“转速—重力加速度—示意图”)。
2.2.2.2 密度
转子和配件的相关转速信息指的是液体密度低于1.2 g/cm3时的状况。如果液体的密度大于1.2 g/cm3,离心机的最大允许转速要降低,应根据以下公式计算:
n = nmax x![]()
Rho = 密度g/cm3
33 安全
安全
3.1主机标记
SIGMA离心机使用以下符号:

高压危险

注意,查阅说明手册

开(电源)

关(电源)

保护接地

接地点

拔掉电源插头

当心!夹手危险!

按箭头方向旋转

小心烫伤!

CE标志,遵循2006/42/EC标准

不得当作家用废弃物处理!
33 安全
.2符号和注释的说明
操作手册中使用以下名称和符号来指示危险:
这个符号表示对人生命和健康有直接危险。
违反这个符号将造成严重的健康问题,甚至会危及到生命。

这个符号表示电压对人生命和健康有直接危险。
违反这个符号将造成严重的健康问题,甚至会危及到生命。

这个符号表示对人生命和健康有潜在危险。
违反这个符号可能会造成严重的健康问题,甚至会危及到生命。

这个符号指示一个潜在的危险情况。
违反这个符号可能会对生命、财产造成较大的伤害和损坏。

这个符号指示重要的信息。

33 安全
.3操作人员的责任
操作人员对授权负责,只有有资格的人才能操作离心机(参见第3.4章节“操作人员”)。
人员责任范围必须明确,其中包括操作、保养及主机的维护。
人员安全连续工作必须遵守操作手册和EC及国家健康、安全法规,事故防范法规的相关规定,并定期进行审核(如,每月审核一次)。
国际健康、安全法规定,工作中操作人员必须遵守:
采取保护措施,以防在工作中对生命、健康造成危害。、
确保离心机操作正确,完全按照规定进行(参见第1.2章节)。
采取一定的措施以安全打开离心机。
3.4 操作人员
操作离心机的人员必须:
熟悉相关工作位置安全和事故防范的法规。
阅读并理解操作手册(尤其是安全部分和警告注释),强化印象。
3.5非正式安全注释
操作手册是设备的一个组成部分。
请将操作手册放在离心机的使用位置使其可轻松获得。
请将操作手册交给离心机的使用者和所有者。
请将您收到的任何修改添加到指南中。
除操作手册外,涉及事故防范和环境保护的通用和当地法规、规定也必须遵守。
必须保持离心机上贴的安全和危险指示标志随时可以看到,需要时必须更换。
3 安全
3.6离心的安全指南
3.6.1 电路安全
确保墙上的插座接线正确并与地线连接。
检查电压是否与铭牌上标识的额定电压相符。
不要将装有液体的容器放在离心机盖子上或离心机周围30 cm范围内。洒出的液体 可能会进入离心机内从而损坏电路元件或机械元件。
以电力供应系统供电的,只能在特定电路下进行。
定期检查离心机的电路设备,发现坏损部位,如漏电、烧焦的电缆,立即排除。

3.6.2 机械安全
离心机运转过程中禁止开盖!
离心机运转过程中禁止触摸转子腔。
禁止使用安装不正确的离心机。
不得使用无操作面板的离心机。
如果转子和衬垫显示腐蚀或其它缺陷的迹象,不得使用离心机。
只能使用生产厂家提供的转子和配件。如有疑问,请联系厂家(参见第7.3章节“客服联系方式”)。
有问题的开盖装置可能会导致离心机盖的掉落(如果需要,请联系客服部),有破碎的危险。
离心机运行过程中,不得碰撞或移动离心机。
离心机运行过程中,不得倚靠或坐靠离心机。
不得离心任何可损害离心机转子的材料。例如高腐蚀性物质可损害转子及其衬垫的材料,且影响它们的机械强度。
一旦离心机发生故障,应立即停止使用(参见第7章“故障及错误纠正”)或联系Sigma Laborzentrifugen GmbH公司客户服务部(参见第7.3章节“客服联系方式”)。
应确保仅由经授权的专业人员来进行所有的维修。

每次开机之前都要检查离心机所有与安全相关的部件是否存在明显的损坏迹象,尤其要注意橡胶部件(如:电机罩、盖的密封、适配器)。损坏的部件必须立即更换。
当不使用离心机时,应打开盖子以便所有液体蒸发掉。
3 安全

3.6.3 防火
禁止离心易燃易爆的样品。
不得在危险场所使用离心机。

3.6.4 化学安全和生物安全
如果用离心机离心致病性物质、有毒物质或放射性物质,操作人员必须遵循所有必要的安全规定、准则、防护措施及操作规程。
传染性物质、毒性物质、病原性物质、放射性物质必须在特定的具有生物密封的容器中使用,以免这些物质泄漏。
如果存在毒性物质、放射性物质、或病原性物质污染的危险,应采取适当的措施,确保自身人身安全。
禁止离心相互间有强烈反应,释放高水平能量的样品。
不断了解当地措施,以控制有害气体的排放(取决于被离心的物质)。
在离心机的使用中防护衣不是必需的。离心材料时是必需的,且要求特殊的安全措施(例如:离心传染性物质、毒性物质、放射性物质、或病原性物质)。


33 安全
.6.5 离心机的安全指南
为了安全操作,开启离心机前请遵循以下规定:
应确保离心机安装正确(参见第5章“离心机的安装与连接”)。
离心机周围必须保持30cm(12英寸)以上的安全距离。
不得在离心机附近存放任何危险物品。
除非操作,否则不要待在离心机附近。
仅使用生产企业认可的配置了转子和配件的离心机。我们明确警告严禁使用劣质的设备。玻璃破碎或器皿爆炸在高转速下失去平衡,可导致危险。
应确保转子和吊篮正确匹配(参见第6.2.2.1章节“转子安装”)。
安装配件时,请参照操作手册(参见第6.2.2.3章节“配件安装”)。
转子必须对称地加载相同的重量。
如果离心液体的密度大于1.2 g/cm3,需要降低转速(参见第2.2.2.2章节“密度”)。
如果转子加载不对称,不得使用离心机。
如果离心机试管过长,不得使用离心机。

3.6.6塑料热阻
化学反应对塑料的高分子链有非常大的影响,因此会影响它们的物理属性。如果使用溶剂 、酸性或碱性溶液,将会损坏塑料部件。
参考热阻数据(参加第11.5章节 – “热阻数据”)。

33 安全
.6.7转子和配件的使用寿命
转子和配件使用寿命有限。
出于安全考虑请定期进行检查(至少每月一次)!
请特别注意是否存在变化,如腐蚀、裂纹、材料磨损等。
如果转子或吊篮上标记了其它有关使用寿命的数据,也应符合这些数据的要求!例如:标记有“最多循环次数10000”的吊篮寿命为10000次;标记有“有效期02/15”的转子最晚要在2015年2月前报废(见下图)。



图 4:不同的寿命—标记在吊篮/转子上
请参阅转子和配件的寿命列表(第11.4章节“转子和配件的寿命列表”)。

33 安全
.7 安全装置
3.7.1 盖锁装置
离心机只有在盖完全关闭时才能启动。当转子停止时才能打开盖。如果运行过程中,盖是通过紧急释放系统打开的,离心机将立即关闭且减速。如果盖处于打开状态,电机将完全与网电源断开连接,即离心机不能运行(参见第7.1.1章节“紧急开盖”)。
3.7.2 静止监测
只有当转子处于静止状态时,离心机盖才能打开,这个静止状态是由微电脑监测的。
3.7.3 系统检测
一个内部系统检测用于监测数据传输和传感器信号的可靠性。及其灵敏的检测错误并以错误信息的形式显示(参见第7.2“错误代码表”)。
3.7.4 接地线检查
离心机侧面上有一个等电位连接螺丝,用于地线检查(参见第2.1.1章节“功能及操作单元”)。应由经授权的专业人员使用专业测量工具进行接地线的检查。请联系Sigma客户服务部门(参见第7.3章节“客服联系方式”)。
3.7.5 不平衡监测系统
离心机会忽然跳出一个对话框或发出声响来指示离心机正在以一个非允许的不平衡状态运行。如果是转子安装不平稳,电机将在加速或运行过程中关闭
3.7.6 温度监控系统
如果转子腔内的温度升高至50℃以上,驱动系统将自动关闭。在离心机冷却下来之前,不能重启。
3.7.7 转子监控系统
当选定一个转子号,或者选定一个转子带吊篮号,微电脑系统将自动检查输入的转速或离心力是否在所选转子允许的范围内。
3 安全
3.8 危险、事故发生时采取的措施
出现紧急情况,立即关闭离心机。
如有疑问,请联系紧急医生。

3.9 残留物危害
由于离心机的制作技术发展水平,且受到一般公认的安全规则的限制。离心机使用时,不能完全排除对操作人员或第三方的生命人身危害,或装置及其它有形资产的损害。
使用离心机
仅用于原有的预期用途(参见第1.2章节“预期用途”)。
仅在离心机良好运行的状态下使用离心机。
及时排除任何影响安全的故障。
44 运输和储存
运输和储存
4.1尺寸和重量
Sigma 3-18KS | |
高度: | 355mm |
开盖高度: | 795mm |
宽度: | 630mm |
深度: | 600mm |
重量: | 78Kg |
4.2储存条件
离心机可以储存长达1年而无任何问题。
仅在干燥的房间中储存离心机。
储存温度必须不低于-20℃。
如果您想储存时间超过一年,或打算将其运往国外,请联系厂家。
4.3运输注意事项
安装运输安全装置(参见第4.5章节 – “运输安全装置”)。
抬起离心机时要用提升装置。
抬起离心机时,要从侧面扶着离心机底部。
离心机重量大约78kg!

运输带有适当包装的离心机,且尽可能的用其原包装(参见第4.4章节 – “包装”)。
44 运输和储存
.4包装
离心机装在木箱中。
拆掉包装箱盖,拆掉侧板。
取出包装材料。
用提升设备向上取出离心机,确保安全。在抬起离心机时总要从侧面扶着离心机底部。
离心机重量大约78kg!

请尽可能地保留包装箱以备下次运输离心机时使用。
4.5运输安全装置
运输安全装置由位于转子腔内部的一个泡沫塑料件构成。
离心机启动之前必须取掉运输安全装置,因为螺栓锁住了电机轴承!

取掉运输安全装置:
按下开盖键打开盖子。如果离心机没有接电,使用紧急开盖装置打开盖子(参见第7.1.1章节 - “紧急开盖”)。
从一边小心抬起泡沫塑料(见图,第1项),将其从离心腔中取出。
保留运输安全装置以备在以后离心机运输时使用。
55 安装和连接
安装和连接
5.1安装场所
只能在密闭、干燥的房间内使用离心机。
所有提供给离心机的能量转化为热量并排放到周围空气中。
保证足够的空气流通。
离心机周围必须保持30cm的安全距离,以便离心机上的通风口保持充分有效的空气流通。
对于水冷离心机要保证有效的水流。
不得让离心机受热,如将其放置在散热器附近。
应避免阳光直射(紫外线辐射)。
离心机停放的台面应稳固、水平。
注意:将离心机从冷地方运输到热地方的过程中,离心机内部会产生水分凝结。再次使用离心机前应允许充分干燥(至少24h),这是非常重要的。
5.2动力供应
5.2.1连接
铭牌上的操作电压必须与当地供电电压相符!

SIGMA离心机安全等级为I级,且具有3芯电源线和一个IEC C13连接插头,装有温度保险丝。
触动主机电源开关,关毕离心机。
如果已经关机,让保险丝冷却2分钟。
开启主机,保险丝重新激活。
5.2.2用户提供熔断器
通常情况下,用户要给离心机配 “B”或“L”级16A熔断器进行保护。
66 使用离心机
使用离心机
6
首次启动前,应确保您的离心机正确设置和安装(参见第5章“安装和连接”)。
.1首次启动

6.2开启离心机
按下电源开关。
离心机显示屏亮起,现在准备运行离心机。
6.2.1打开和关闭机盖
如果离心机处于待机状态,且开盖键亮着时,可打开盖。
按下开盖键,打开离心机盖。
盖处于打开状态时,不得启动离心机。
关盖时,从两边轻轻压下盖子直到盖锁锁上。
关闭离心盖的时候,不要将手指放在盖子和腔体之间。小心挤压!

6.2.2安装转子和附件
6.2.2.1 安装转子
按下开盖键,打开离心机盖。
将转子紧固螺母从电机轴上拆除(逆时针方向)。
将具有中心孔的转子垂直安装到电机轴上。
用随机转子扳手顺时针方向拧紧转子紧固螺母(7.5 Nm)。操作时,要扶着转子外沿。
请确保一天一次或20个周期后一次,将转子紧固螺母旋松数圈再安装、拧紧。可保证转子和电机轴之间的正确连接。

使用酶标板转子时:
确保酶标板固定器和酶标板都插在吊篮中。
6 使用离心机

转子盖螺栓是用于将转子盖固定在转子上,不能用来将转子固定在电机轴上。
遵循安全指南和危险警示(参见第3章 – “安全”)!
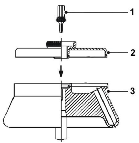
6.2.2.2 安装带有密封盖的角转子
将转子盖固定到转子上,并拧紧。
安放带盖转子到电机轴上。
将转子紧固螺栓插入电机轴孔中并用扳手拧紧(7.5 Nm),确保弹簧垫圈完全拧紧。
转子不带盖也能运行。
转子与盖之间的密封部分清洁干净后必须加以润滑。
转子在拧松转子紧固螺钉后都可以连盖一同安装和拆卸。
遵循安全指南和危险警示(参见第3章 – “安全”)!

1 转子紧固螺栓
2 转子盖
3 转子
图5:带有密封盖的角转子
66 使用离心机
.2.2.3 安装配件
只能使用与转子相匹配的配件(参见第11.1章节“配件范围”)。
离心时,水平转子的所有吊篮都必须安装到位。
转子对位要装载相同的吊篮和配件,并且等量填充以避免失衡。
装载不同型号离心管的离心:
离心时装载不同型号的离心管也是允许的,但是必须对称装入对等的离心管(见下图)。

图6:装载不同型号离心管的水平转子允许的装载方式
低装载量离心:
离心管必须对称放置,以保证吊篮及其悬挂物装载均衡(见下图)。

图7:水平转子(左侧)及角转子允许的低装载量的装载方式
6.2.2.4 适配器
为方便操作,使多种规格的离心管得以使用,研发了适配系统。
转子对位适配器必须装载相同数量的离心管,离心管重量也必须相等,以避免失衡。
如果有吊篮空载,也必须对称、平稳装载,不允许只搭着吊篮边缘安装。
66 使用离心机
.2.2.5 离心管
要在离心机外面装填离心管。液体进入吊篮或适配器中会造成腐蚀。
认真填充离心管并按其重量进行摆放。不平衡将导致轴承过度磨损。
使用高转速的角转子时,离心管必须填充至其有效容量(离心管的规定容量)。如果离心管只部分填装,将会变形,最终可能导致样品泄露而损失。
使用玻璃离心管时,最大不能超过4000xg的相对离心力(特制高强度玻璃离心管除外:请参考厂家提供资料)。
遵循安全指南和危险警示(参见第3章 – “安全”)!
66 使用离心机
.3 控制系统“Spincontrol S”
6.3.1 用户界面
通过3个整合有发光二极管的按钮和一个功能旋钮对离心机进行操作。显示屏划分为几个不同的区域。通过按动、旋转功能旋钮来调用各种系统功能。

1 启动键
2 离心显示屏
3 功能旋钮
4 停止键
5 开盖键
图8:Spincontrol S控制系统的用户界面
显示屏
离心显示屏有如下区域:
1
菜单栏
2 转速区
3 RCF区
4 转子区
5 程序区
6 状态栏
7 温度区
8 运行时间区
9 加速曲线
10 减速曲线
图9:Spincontrol S控制系统的显示屏
66 使用离心机
.3.2手动模式
6.3.2.1 启动离心机
当离心机启动键亮起时,离心机便可以启动了。
按下启动键,离心机开始运转。
6.3.2.2 制动离心机
按下制动键,使离心机停止运行,离心机就会提前终止运行。
快速制动:
按住停止键超过3秒。
离心机将会以最大减速曲线减速。
使用快速制动后,在运行下一次离心前必须将离心机盖开启一次。
在正常减速过程中也可以激活快速制动,如,想要加快减速过程。
激活快速制动后,在转速区显示“FAST STOP”。
6.3.2.3 停止一个减速过程
在减速过程中按下启动键,将会停止减速并重新启动离心机。
6.3.2.4 选择、显示、修改数据
显示器显示标准菜单。
旋转功能按钮以选择一个区域,选择区域呈反差颜色。
按下功能按钮,显示开始闪动,激活修改模式。
旋转功能按钮直到显示需要的数值。
按下功能按钮确定选定数值并退出修改模式。
66 使用离心机
.3.2.5 标准菜单
开启离心机后,此菜单将显示数秒。可对以下参数进行显示、更改:

图10:标准菜单
转速
在该区域的上部,显示的是设定转速,下面显示的是实际转速。转速单位是转/分钟(rpm),取决于相对离心力(RCF)(参见第2.2.2.1章节“转速、离心半径和相对离心力”)。最大转速值取决于所使用的转子。
相对离心力(RCF)
相对离心力是样品所受的加速度。设定值显示在该区域的上部,实际值显示在下面。相对离心力以g(重力加速度)为单位,取决于转速(参见第2.2.2.1章节“转速、离心半径和相对离心力”)。最大相对离心力取决于所使用的转子。
温度
设定的温度显示在该区域的上部,转子腔实际温度显示在下面。可设定温度范围在-20℃~+40℃。
没有加热器的离心机,是利用转动转子产生空气摩擦来使温度高于室温。

运
6 使用离心机
行时间设定的运行时间显示在该区域的上部,运行剩余时间显示在下面。运行时间定义为从离心机运行开始到开始减速为止的这段时间。最大时间为99小时59分钟59秒。
在“设置”菜单下,可以将运行时间设置为从达到设定转速后开始计时而不是从开始运行时计时(参见第6.3.2.7章节 - “设置菜单”)。在此状态下,在转速区将显示“
”。
连续运转
连续运转过程中,离心运转时间是没有限制的,必须手动停止。在连续运转过程中,离心机会一直加速直到达到设定转速。
选择“运行时间”区域并确认,激活后显示开始闪烁。
从0:00:10开始时要逆时针旋转功能旋钮,从99:59:59开始时要顺时针旋转功能旋钮,将显示“无限”。离心机启动后,显示的是已经运行的时间。
按下停止键或设定确定的离心时间,将终止连续运转程序。
瞬时离心
在离心机没有运转的情况下可以进行瞬时离心。
瞬时离心过程中要一直按着启动键。
瞬时离心过程中,离心机会以最大加速曲线9进行加速,直至运行转速达到转子能达到的最大转速,离心机进行计时并在转速区闪烁“瞬时离心”信息,松开启动键,离心机以最大减速曲线进行减速直至静止。
转速、相对离心力、温度及运行时间可以在离心过程中进行更改。

转
6 使用离心机
子:转子选择列表/自动转子识别该区域显示的是当前正在使用的转子。
选择“转子”区并确认,将显示所有可用的转子(不带吊篮)列表。
选择目的转子,将显示所有可用的转子/吊篮组合及其信息。
选择转子/吊篮组合并确认,按下功能旋钮以接收这些数据。

图11:转子选择列表,这里显示所有可用的转子/吊篮组合及其信息
识别并调节错误设定的转子:
离心机自动识别当前所使用的转子。
当系统检测到所使用的转子和设定的转子不一致,转子上没有其他吊篮时,如果转速没有手动调节,所输入的转子将自动被调整,但是系统不会给出任何信息。
当系统检测到所使用的转子和设定的转子不一致,并且转子有不同种类的吊篮可匹配,系统将会自动选择转速最低的转子组合,此时系统会显示一个相应的信息以便手动选择转子。
当系统不能识别当前转子,将会显示一个信息,此转子不能用在该离心机上。
这种方式最大限度的避免了转头超速运转的可能性。
程
6 使用离心机
序:程序列表标准菜单中的这个区域,显示的是当前载入的程序。选中此区域后,显示程序列表(关于怎样使用这些程序的信息,请参见第6.3.3章节“程序模式”)。
快速制冷程序“RAPID_TEPE”不能删除(见下述)。

图12:程序选择列表
快速制冷程序“RAPID TEMP”
静止预冷可能会导致测量结果不准确,从而增加机械元件的损坏。这是为什么离心机在特定环境下,要有一个特殊的快速预冷离心机的程序:
在“标准”菜单中选择选项“程序”,并确定,将显示程序列表。
在程序列表中选择程序“RAPID TEMP”,并确认,将显示所用转子最高转速的1/3转速及相应的RCF。减速(制动)及加速曲线也相应变为第“9”号曲线,运行时间区域显示“无限”(连续运转)。

图 13:“RAPID TEMP”程序
6 使用离心机
只有当实际温度高于设定温度时,才能加载快速制冷程序。
按下开始键开启快速预冷过程。
在快速预冷过程中,可以对设定温度进行修改,但是设定范围要低于当前腔体温度。
状态栏中将显示当前程序的状态。
在以下状态时“快速制冷”程序将停止:
温度达到设定值时。此时,“快速制冷”程序将停止,并伴有声音信号提示,静止预冷功能被激活。
按下停止键。快速预冷程序将提前终止。达到设定温度后,不会显示任何信息。
更改参数(除更改温度外)或输入额外的信息。这样,“快速制冷”程序就会终止,达到设定温度后,不会显示任何信息。
停止后,将重新加载之前的程序或采用新设定的参数。
运行快速预冷程序后,将取消自动开盖功能,以防止系统重新受热。

运行快速预冷程序后,将取消自动开盖功能,以防止系统重新受热。

“Delta T”温度监测系统(参见章节(见第6.3.2.6章节-“参数菜单”),过程)在“快速制冷”过程中尽可能保持开启状态。

使用“快速制冷”程序时,将显示空载的铝合金吊篮的温度。如果装有样品,且样品未经预冷就放置于吊篮中,显示温度将与实际样品温度不一致。

加速度
此功能用于选择一个加速曲线。可以选择一个线性加速曲线(0~9号曲线),也可以选择一个二次方加速曲线(10~19号曲线)。20~29号曲线可以根据需要自行编辑。
曲线形状的详细解释(请参见第11.3章节-“加速和减速曲线”。
减
6 使用离心机
速度(制动)此功能用于选择一个减速曲线,离心机以此减速方式进行减速直至静止。减速曲线与加速曲线是对应的相反曲线,并以相同的曲线号标识。“0”号减速曲线代表无阻尼减速。
6.3.2.6 参数菜单
“参数”菜单用于指定离心机的各种状态。这些状态用于监测离心过程、控制离心机的使用。

图14:参数菜单
过程
静止预冷
有些离心的物质,需要对离心机进行预冷。预冷可以防止低温样品在未预冷的离心机中升至其不能存放的温度。
激活静止预冷功能后,离心机开机后就开始预冷,在运行时间区,显示“
”,离心机盖必须关闭。
转子腔中静止的空气会导致测量和控制的不准确,从而引起压缩机过冷。温度低于0℃时,水会结冰,这样样品将无法进行沉淀。
离心机静止时,确保转子温度不低于0℃!!!
离心机具有“快速制冷”程序。此程序用于在限定状态下对转子腔进行快速预制冷(参见第6.3.2.5章节 – “标准菜单”,程序列表 。)


6 使用离心机
离心半径
离心半径决定了样品所受到的相对离心力。通常,显示的是最大相对离心力(RCF)值。如果手动调节减小了离心半径值,在RCF区将显示一个向下的箭头(
)。
密度
此设置对于玻璃离心器具是非常有用的。当离心液体的密度大于1.2g/cm3时,密度值必须手动调节,从而,降低最终最大转速(参见第 2.2.2.2章节“密度”),在转速区将显示一个向下的箭头(
)。密度值在1.2g/cm3和10.0g/cm3都可以。
离心监控
离心监控功能实现了在离心过程中对转速及运行时间的连续监控。
点击以激活离心监控功能。
如果在离心运转过程中才激活该功能,监控过程直到下次离心开始时才会启动。

相比实时运行显示的转速值,离心监控功能储存在控制单元中。每次运行结束后,将显示一个相应的信息。如果离心运转过程有短暂的停顿,运行时间将提示错误。

图15:离心监控信息的样例
温
6 使用离心机
度监控控制系统包括一个温度监控功能。如果设定温度和实际温度的差值超出一定范围时,此功能将迫使离心停止并跳出一个错误信息。
选择温度监控功能并确认。
设定所需的温度范围门槛“delta T”并确认,设置步增1℃或1℉。
激活温度控制功能后,在标准菜单的温度显示区显示“
”。
此时,只有当实际温度处于预设温度的“delta T”范围内时,离心机才能启动。
在离心机运转过程中,如果温度超出了这个范围,离心机将报错并减速至完全静止。
转离设定转速
此功能被激活后,当实际转速低于设定转速时,电机将断开连接,这样,转子将以无阻尼制动的方式减速并停止运转。
转离(如:无阻尼制动),尤其是很重的转子在高速运转的情况时,可能会需要很长时间!(取决于转子和装载量,转速将以约0.5~1rpm/秒的速度进行减速)。

当激活“转离”功能后,在减速曲线旁边显示“+0”.
当选择快速停止或重新启动离心机时,“转离”监控将停止。
密码
为避免离心机任何未授权的使用,可对以下功能进行密码设置:
存储程序
更改参数
加载程序
启动键
对一个功能设置密码:
选择预设置密码的功能,其之前的功能将自动被选择(例如:如果选定参数功能,则其前面的“存储程序”功能也就选择了)。
选择“激活密码”键
输入一个四位数字的密码并确认输入
此时,设置密码就被激活了,在状态栏将显示一个上锁标志“
”。
如
6 使用离心机
果对设定了密码的功能进行修改时,系统会要求输入之前设定的密码以进行更改。对一个功能解除密码:
选择“解除密码”键。
输入密码并确认
这样此功能就解除密码了。
更改密码:
选择“更改密码”键
输入之前的密码并确认
输入新密码
为确保安全,密码必须要输入两遍
这样密码就更改了。
6.3.2.7 设置菜单
“设置”菜单用于操作与离心机控制系统相关的基本设置。使离心机最大满足在特殊领域的应用。

图16:设置菜单
功能
运行后开盖
必须激活自动开盖功能后,离心机运行结束后离心机盖才能自动打开。
开盖后,制冷功能自动关闭,样品将会升温!

程序连续运行
参见第6.3.3.4章节 -“程序自动连续运转”。
定
6 使用离心机
速计时激活该功能后,只有当运行速度达到设定转速后才开始计算运行时间。在标准菜单的运行时间区将显示时钟标志“
”。
延迟启动
激活延迟启动功能,离心机会等到设定的延迟时间后,才会启动。在时间区显示“
”标识。
减速时间显示
激活状态下,进入减速过程后,将不在显示运行时间而是显示减速时间。在时间显示下,出现“
”标志,在减速过程中,该标志将闪烁,减速过程停止后,该标志长久显示。
显示
温度单元
可以选择℃(摄氏度)或℉(华氏度)。
语言
可选择多种语言。
如果错选了语言,可以在任何界面下进行修改,方法如下:
按下停止键并保持按着的状态。
向左旋转功能旋钮1个刻度单位,再向右旋转转功能旋钮1个刻度单位。
松开停止键,将显示“语言”对话框。
选择所需要的语言。
转速/RCF/时间精度
该菜单用于预设转速步进为1rpm(替代100rpm),相对离心力值步进为1xg(替代10xg),时间设定步进为1分钟或1秒(替代10分钟或10秒)。
当快速旋转旋钮时,离心机将不会按照精度调节,调节幅度增加。

转换
激活该功能后,显示屏可以从白底黑子的标准设定状态调节为黑底白字的状态。
系
6 使用离心机
统循环次数
此区域显示的是转子、吊篮截止当前已经使用了的次数和时间。
信息
此菜单将信息提供给在离心机上使用的软件。
传感器
传感器菜单是留给客服人员的。
在“循环次数”、“信息”及“传感器”中的数据既不能输入也不能更改。

名称
在这个菜单中,可以给离心设定一个确切的名称。
光标在文本框中闪烁时,就可以输入字符了。
转动功能旋钮选择一个字符并点击确认,然后再次点击旋钮以输入下一个字符。点击箭头按钮←将删除最后一个字符。最大字符号是19.
完成名称编辑后,选择“确认”并确定。
报警器
在此菜单下,可以为以下情况选择听觉/视觉信号:
离心机运行结束。
出现不平衡信息。
出现错误信息。
可规定报警信号持续的时间。
外部
只有当离心机装有选配组件用于数据(外部信号、浮动转换)输入或输出时,此功能才能使用。(参见第6.3.3.5章节 –“数据输入及输出选项”。
66 使用离心机
.3.2.8 曲线菜单
在该菜单中,可以创建、编辑用户自定义加/减速曲线以满足特定的要求(参见第11.3章节 – “加速/减速曲线”)。

图17:曲线菜单
创建、编辑一个加速曲线:
在离心过程中,曲线仅可用于显示不能进行编辑或删除。

选择“曲线”菜单,将显示曲线编辑器。
在“曲线”下20~29中选择曲线号。如果所选的曲线号已经被使用,将显示该曲线号中存储的曲线。
在“阶段”下定义离心程序中的阶段号,每一个曲线都可以最多设置10个阶段。
在“时间”下输入阶段时间,但要考虑限定值(参考如下)。
在“RPM”或“RCF”下输入所需的加速度,但要考虑限定值(参考如下),这些数值是彼此相关的。
第一阶段,可在“QUAD/LIN”下选择线性或二次方升速方式,而其他的阶段都是线性的。
“Total”区域显示的是过程总运行时间,一条曲线的运行时间主要由曲线的斜率和转子的最大转速所决定。
只能对前一个曲线阶段进行编辑。

限
6 使用离心机
定值减速和加速曲线可能包括正斜率的阶段和平直线的阶段。
曲线的阶段斜率可设在1rpm/s~1000rpm/s之间。
二次方曲线阶段仅能在0rpm~1000rpm范围内设定,如果所选的最终转速高于1000rpm,此阶段将自动在1000rpm以上时转为线性曲线。
运行时间取决于最大转速(由转子决定)和斜率限定。
例1:从0rpm开始,最终转速100rpm,由于要求的斜率<0.03rpm,所以运行时间不可能达到1小时,因为这样就超出了限定范围。
例2:从0rpm开始,最终转速15000rpm,由于要求的斜率是1500rpm,10秒的运行时间是不可能的,因为这样也不在限定范围内。
6.3.2.9 帮助菜单
帮助菜单为所选中的控制单元提供了简单的描述。
激活/解除帮助功能
选择菜单栏中的问号标识并确认。
再次选择问号标识,退出帮助功能。
激活帮助功能后,仍然可以对参数进行修改。

图18:帮助菜单
66 使用离心机
.3.2.10 更改对比度
按住停止键并将功能旋钮向左旋转一个刻度。松开停止键后将出现一个对话框。
修改离心机显示屏的对比度并确认修改。

图19:更改对比度的对话框
6.3.3 程序模式
一个程序包含离心机运转所需要的所有数据。
使用程序,可以保证离心沉淀在相同条件下的可重复性。
在离心机处于静止状态时,都可以对程序进行加载、执行、修改、删除。
最多可存储60个程序,程序号1~60。快速预冷程序“RAPID_TEMP”不会占用任何存储位置,也不能被删除,此程序是用来空载时预冷离心机的。
“--”表示当前设定值不是一个已经存储的程序。
可以利用密码来保护程序免被未授权使用、修改或删除(参见第6.3.2.6章节 - “参数菜单”)。
66 使用离心机
.3.3.1 加载一个程序
从“标准”菜单中选择选项“Progr”并确定,将显示程序选择列表。
从列表中选择目的程序并按功能旋钮确认。
这样就将程序加载了。

图20:加载一个程序
6.3.3.2 储存程序
输入包含在程序中的参数。
选择选项“Progr”并确认,将显示程序选择列表。
从程序列表中选择存储程序的位置。
将程序存储在目的名称下,当光标闪烁时可以输入字符;最大字符号是19。
旋转功能旋钮以选择一个字符,点击旋钮确认。
之后,再次点击旋钮来输入下一个字符。
点击箭头按钮←将删除前一个字符。
完成程序命名后,选择“OK”选项并确认。
此时,程序就被储存了。
6 使用离心机

图21:存储程序之前输入程序名称
6.3.3.3 删除程序
选择选项“Progr”并确认,将显示程序选择列表。
选择预删除的程序。
选择“DELETE”并确认。
此时,程序就被删除了。

图22:删除程序
66 使用离心机
.3.3.4 程序自动运转
选择该功能,离心机可以依次按顺序运转程序。
在“设置”菜单中选择“程序运转”。

图23:程序运转功能
载入当前程序,离心机开始运转。运转结束后,离心机将自动载入和运转下一个程序,遇到第一个空程序时,程序运转结束,离心机从头开始运转:
例1:载入示例程序1,
运转:程序1,程序2,程序3,程序1,……..
例2:载入示例程序2,
运转:程序2,程序3,程序2,……..
激活程序运转功能后,在标准菜单下的程序区域显示一个箭头(见下图)。

图24:程序自动运转
66 使用离心机
.3.3.5 数据输入和输出的选项
用于连接一系列界面
外部信号激活DC24V,0.5A(最大),货号17701
浮动调节AC250V,最大6A,货号17702
6.4 关闭离心机
不使用离心机时,要将离心机盖打开以便水分蒸发。
按下主电源开关关闭离心机。
77 故障与纠错
故障与纠错
7.1 一般故障
通过一个对话框指示错误。如果激活了声音信号,显示错误信息时将会有声音提示。
排除问题源(参见下表)。
按下旋钮了解错误信息。
按下开盖键可排除错误信息,但错误本省并不能排除,只是离心机可以重新进行操作。

错误类型 | 可能的原因 | 纠正 |
显示器无显示 | 无电源供应 | 检查电源保险丝 |
电源插头没有插上 | 将电源插头插好 | |
电阻丝已经烧断 | 重新接好温度电阻丝(见5.2.1“连接”) | |
电源关闭 | 打开电源 | |
离心机不能启动: 启动键不亮 | 个别 | 将电源重新关闭再打开。如果仍然出现此错误,请联系客户服务部门。 |
离心机不能启动: 开盖键闪烁 | 盖没有关好 | 打开机盖再关闭。如果仍然出现此错误,请联系客户服务部门。 |
离心机运行过程中减速 | 无主电源供应 | 按下启动键重新启动离心机。 |
系统错误 | 将电源重新关闭再打开,如果仍然出现此错误,请联系客户服务部门。 | |
离心机运行过程中减速,跳出不平衡对话框 |
| 平衡装载并重新启动离心机。如果仍然出现此错误,请联系客户服务部门(参见第7.1.1章节 - “紧急开盖”)。 |
| 清理、润滑承重螺栓 | |
离心机盖无法开启 | 盖锁打不开 | |
盖密封处粘合 | 清理盖密封处并上一些滑石粉 | |
不能达到温度设定值 | 压缩机脏了(仅对于空气制冷型机器) | 清理压缩机,如果仍然出现此错误,请联系客户服务部门。 |
77 故障与纠错
.1.1 紧急开盖
当电源发生故障时,可通过手动方式打开离心机盖。
关闭电源开关并拔下电源插销。
用螺丝刀之类的工具取掉离心机右侧面板上的插头(见图,第1项)。

图25:紧急开盖开启的位置
首先拔下红绳打开机械锁,再拔下白绳打开盖锁。
然后,再重新插上插头并旋转旋钮退出报错信息,离心机关闭再打开。大约10秒钟之后,就可以再次将盖关闭。
只有在转子处于静止状态时,才能开锁、开盖。

如果在离心机运行过程中进行紧急开盖,离心机将立刻关机并进行无阻尼制动减速。
77 故障与纠错
.2 错误代码
错误代码 | 错误类型 | 解决措施 | 备注 |
1-9 | 系统错误 |
| 所有这些错误导致离心机停止运行或导致离心机以无阻尼制动的方式减速 |
10-19 | 速度计错误 |
| |
20-29 | 电机错误 |
| |
30-39 | 存储器错误 |
| 错误34,35,36会导致离心机停机,错误37,38只发送错误报告 |
40-45 | 温度错误(只适用于冷冻型离心机) |
| |
46-49 | 不平衡错误 |
| |
50-59 | 盖子错误 |
| 错误50、51将导致离心机停机 |
60-69 | 运行过程错误 |
| 错误60报错信息“运转过程中电源连接有问题”;错误61报错信息“电源开启后停止” |
70-79 | 交流错误 |
| |
80-89 | 参数错误 |
| 错误83 只发送错误报告 |
90-99 | 其他错误 |
|
如果无法排除错误,请联系客服部!

77 故障与纠错
.3 客服部联系方式
如需要咨询、出现故障或需要订购配件:
德国:
使用在线服务申请,从
www.sigma-zentrifugen.de [客服区]
或联系:
SIGMA Laborzentrifugen GmbH
An der Unteren Söse 50
37520 Osterode (Germany)
Tel. +49 (0) 55 22 / 50 07-8425
Fax +49 (0) 55 22 / 50 07-9425
E-mail: service@sigma-zentrifugen.de
其他国家:
请联系您所在国家的代理商。所有代理商列在:
www.sigma-zentrifugen.de[联系][国外代理]
如果需要我们的服务,请注明您的离心机型号和系列号。
请使用我们网上的在线服务申请(见上述)。

88 维修与服务
维修与服务
离心机、转子和配件要承受很高的机械压力。通过用户的维护与保养可以延长它们的使用寿命,防止其过早破坏。
如果因为不正当的维护导致离心机受到腐蚀或其它损坏,生产企业不承担法律责任或任何质保。

使用肥皂水或者其他水溶性的,温和的清洁剂(pH值在6~8之间)来清洁离心机和附件。
避免使用腐蚀性和苛性物质。
不得使用有机溶剂。
不得使用有磨蚀颗粒的溶剂。
不要将离心机和转子暴露在紫外线辐射和热应力中(如热发电机)。
8.1 维护
8.1.1 离心机
清洗前应将电源线与墙上输出电源或插座断开连接。
为避免损坏发动机轴承,请使用抹布认真擦掉转子腔体中所有的液体,如水,特别是所有的溶剂、酸性和碱性溶液。
如果离心机已经受到毒性物质、放射性物质、或病原性物质的污染,请立即使用适当的去污剂(取决于污染物的类型)清洗离心机腔体。
如果存在毒性物质、放射性物质、或病原性物质污染的危险,应采取适当的措施,确保自身人身安全。

清洗后要对电机轴稍微进行润滑(用于承重螺栓的润滑油部件编号70284)。
8 维修与服务
8.1.2 配件
对于配件的维护,必须考虑采取特殊的安全措施,这些措施将确保同一时间操作的安全性!

如果任何导致腐蚀的液体溅到转子、吊桶或配件上,应立即冲洗它们。用刷子或试管来清理角转子的孔,将转子倒过来以使其完全干燥。
配件须拿到离心机外清洗,每周一次,最好是每次使用后清洗。应将适配器拆出,清理、干燥。
如果转子或配件已经受到毒性物质、放射性物质、或病原性物质的污染,请立即使用适当的去污剂(取决于污染物的类型)清洗离心机腔体。如果存在毒性物质、放射性物质、或病原性物质污染的危险,应采取适当的措施,确保自身人身安全。
使用柔软的抹布擦干配件,或放入50°C 的烘箱内烘干。
8.1.2.1 塑料配件
随着温度的升高,塑料的化学热阻会降低。(参见第11.5章节 - “热阻资料”)。
如果使用有机溶剂、酸性或碱性溶液,应彻底清洗塑料配件。
8.1.2.2 铝合金配件
铝制配件更加容易受到腐蚀。
必须避免使用酸性清洁剂和碱性清洁剂。
每周一次使用腐蚀防护油(部件编号70104)稍微润滑一下铝制配件,以保护其不被腐蚀。
只有这样,才能增加它们的使用寿命,降低腐蚀。
8 维修与服务
8.1.3 转子、吊篮和适配器
转子、吊篮和适配器的制作过程非常精密,以能承受高离心力下的持续高压。
化学反应和带压腐蚀(持续压力和化学反应的结合),会影响、甚至破坏金属的材质。即使材料表面存在无法觉察的微小裂缝也会扩大,并削弱材质。
定期检查材料(至少每月一次)
−裂缝
−表面上可见的破损
−压力标记
−受腐蚀迹象
−其它变化
检查转子孔及适配器。
为了自身安全立即更换受损部件。
使用腐蚀防护油(70104),每周一次润滑一下转子、盖密封圈、适配器。
清洁后,用布给转子紧固螺栓和承重螺栓上润滑油(70284)。
8.1.4 承重螺栓
只有对承重螺栓进行润滑才能确保吊篮的平衡摆动,从而保证离心机的平稳运行。不进行润滑可能会因为不平衡导致系统关机。
每次清洁后,都要给转子及吊篮的承重螺栓上一点润滑脂(70284)。
8.1.5 玻璃破碎
一旦玻璃离心管破碎必须立刻清除所有玻璃碎片(如,用一个真空清洁器)。更换橡胶垫,因为即使彻底的清理橡胶垫也不能完全清除所有玻璃碎片。

玻璃碎片会损伤吊篮表面涂层(如:阳极氧化处理涂层),从而导致腐蚀。
吊篮橡胶垫里的玻璃碎片会再导致其他玻璃管的再次破碎。
在承重螺栓枢轴承上的玻璃碎片使吊篮和装载物无法平稳运转,引起不平衡运转。
由于离心时会产生较强的空气环流,离心机腔内的玻璃碎片就会划伤金属。磨出的金属粉尘不仅会污染转子腔、转子及离心样品,也会对配件、转子和转子腔的表面造成损坏。
为
8 维修与服务
将玻璃碎片和金属粉尘完全从转子腔内中清除:将离心机内腔上部1/3部分涂抹上润滑脂,如凡士林。
然后让转子以中速(约2000rpm)旋转几分钟,这样玻璃和金属屑就会粘附在涂有润滑油的部位。
用抹布很轻易就能将这些碎屑连同润滑油一同抹去。
如果需要,重复以上过程。
8.1.6 压缩机(仅涉及空冷离心机)
为了冷却制冷系统中的制冷剂,采用了薄片式压缩机,空气制冷方式。
粉尘、灰尘等阻碍了冷却空气的流动。冷凝管和薄片式空气压缩机中的灰尘降低了热交换效率,从而低了冷却器的效率。
因此离心机的存放地点必须尽可能的洁净。
如果需要的话,要经常对冷却器的尘土和洁净度例行每月至少一次的检查。
如有任何问题,请联系客服部(参见第7.3章节 - “客服联系方式”)。
8.2 转子腔及配件的灭菌和消毒
使用常见的商品消毒剂,例如Sagrotan®、Buraton®、或Terralin®(在化学品商店或药店有售)。
离心机及其配件由不同材料组成。所以必须考虑它们之间的不相容性。
使用生产企业未推荐的清洁剂或去污剂之前,请联系生产企业以确保此产品不损坏离心机。
使用高压蒸汽灭菌,应考虑各材料持续热阻性(参见第8.2.1章节 - “高压蒸汽灭菌”)。
如有任何问题,请联系我们(参见第7.3章节 - “客服联系方式”)。
如果使用了危险材料(如传染性和致病性物质),必须彻底消毒离心机及其配件。

88 维修与服务
.2.1 高压蒸汽灭菌
配件的使用寿命主要取决于高压蒸汽灭菌的频率和使用的次数。
如果配件颜色变化、变形或发生泄漏等问题,应立即更换此配件。
高压蒸汽灭菌过程中,为避免试管变形,不得拧上管帽。
不排除高压蒸汽灭菌过程中,塑料部件例如盖子、适配器产生变形。

附件 | 最高温度. °C | 最短时间 min | 最长时间 min | 最大周期 |
玻璃离心管 | 134-138 | 3 | 40 | - |
聚碳酸酯离心管 | 115-118 | 30 | 40 | 20 |
聚丙烯离心管 | 115-121 | 30 | 40 | 20 |
聚四氟乙烯离心管 | 134-138 | 3 | 5 | 100 |
铝制转子 | 134-138 | 3 | 5 | - |
角转子的聚碳酸酯/聚乙烯盖 | 115-118 | 30 | 40 | 20 |
角转子的聚砜盖 | 134-138 | 3 | 5 | 100 |
铝制吊篮 | 134-138 | 3 | 5 | - |
聚砜吊篮盖 | 134-138 | 3 | 5 | 100 |
橡胶适配器 | 115-118 | 30 | 40 | - |
聚丙烯圆形适配器 | 115-118 | 30 | 40 | - |
同上,聚乙烯、聚碳酸酯材质 | 115-118 | 30 | 40 | - |
方形适配器,聚丙烯 | 115-118 | 30 | 40 | - |
同上,聚乙烯、聚碳酸酯材质 | 115-118 | 30 | 40 | - |
88 维修与服务
.3 客服
如果维修需要拆掉主板,可能就会有触电或机械损伤的危险,因此只有经授权的专业人员才能进行此项操作。

离心机需承受非常高的机械力,为能承受的住如此大的压力,在离心机生产过程中就要求使用高质量的零部件,然而,损坏将无法杜绝,从外观上也难以发现。
尤其是在其他部件上的橡胶部件,他们有的是电机的支撑部件,会逐步老化。
这是我们为什么建议离心机在正常使用期限内每一年由厂家进行一次检查,而在进入报废期后,每三年进行一次检查。橡胶部件在使用三年或运行15000次后应该更换。
信息和预约:
德国:
使用服务申请模板,从
www.sigma-zentrifugen.de [客服区]
或联系:
SIGMA Laborzentrifugen GmbH
An der Unteren Söse 50
37520 Osterode (Germany)
Tel. +49 (0) 55 22 / 50 07-8425
Fax +49 (0) 55 22 / 50 07-9425
E-mail: service@sigma-zentrifugen.de
其他国家:
请联系您所在国家的代理商。所有代理商列在:
www.sigma-zentrifugen.de[联系][国外代理]
如果需要我们的服务,请注明您的离心机型号和系列号。
请使用我们网上的在线服务申请(见上述)。

88 维修与服务
.4 问题零部件的返厂
尽管我们在生产过程中非常认真,但仍然可能会有一些离心机和零配件需要返厂。
为了保证离心机、零部件、配件返厂过程的快速和经济,请提供给我们尽可能多的、完整的返厂信息。请完整的填写下表并签字,然后附在返厂物品包装箱上。
1. 无污染声明
一方面我们是一个通过认证的公司,另一方面我们也需要保护我们的员工和工作环境,所以我们必须确认所有进入公司的物品都是无毒无害的,因此,我们要求有无污染声明。
必须完整填写该表格并由授权专人签字。
将该表格原件粘贴在包装箱外明显的位置。
如果在返厂包装箱上没有这个声明,我们将自行对其进行消毒处理,但是费用由贵方来结算!

如果此表格中没有故障描述,既没有资金补偿也没有信用函,则,我们有权处理掉这些返厂配件或将其退还给您,但是费用均由贵方承担。

2. 问题零部件返厂表格
此表格作为产品相关信息,方便了我们的工作,加快了返厂处理速度。如果好几个零部件装在一个包装箱中返厂,请对每一零部件都附一个问题说明。
必须有一个详细的问题描述,以便能快速维修并节省成本。
如果您需要一个费用估算,请在表格中标注。费用评估仅为我们收取其费用并要求此评估的用户提供。如果其中产生一个订单,这项费用将被抵消。
此表格可以从网上下载:
www.sigma-zentrifugen.de →[客服区]。
99 处理
处理
9.1 离心机的处理
根
据指令2002/96/EC,SIGMA 离心机所使用的标识如左所示。此符号表示不允许当作家用废弃物处理该设备。
您可以免费将离心机返给SIGMA Laborzentrifugen GmbH。
请确保设备无污染。请填写无污染声明(请参加第8.4章节 – “问题零部件的返厂”)。
请遵守当地其他的法律法规。
9.2 包装的处理
返还需处理的离心机时应使用包装。或:
区分各种材料后,再处理包装。
请遵守当地的法律法规。
110 技术参数
0 技术参数
制造商
S I G M A Laborzentrifugen GmbH
An der Unteren Söse 50
37520 Osterode, Germany
型号:
3-18KS
连接要求
电源连接:
保护等级:
IP代码:
连接负载(kVA):
额定功率(kW):
最大电流消耗(A):
输入保险:
参见铭牌
Ⅰ
20
1.35
1.01
5.50(220-240V/50 HZ)
16.0(220-240V/50 HZ)
温度保险丝
性能参数
最大转速 (rpm):
最大容量 (ml):
最大离心力 (x g):
最大动能 (Nm):
18,000
1,600
30,070
22,997
其他参数
时间范围:
温度设定范围:
存储程序
10秒-99小时59 分钟,瞬时运转、连续运行
-20~+40℃
60
物理参数
高度(mm):
开盖高度(mm):
宽度(mm):
深度(mm):
重量(kg):
EMC (符合EN 61326):
噪音水平(dBA):
355
785
630
600
78
Class B
66(在最高转速下)
10.1 环境条件
以上数据测得的环境温度是23℃ +/- 2℃,电压是正常电压 +/- 10 %。最低温度﹤+4℃,取决于转子类型、转速和环境温度。
允许的环境温度为+5℃~+35℃。
最大相对湿度是 80 %,超过31℃,到35℃之间,最大相对湿度直线型降至67%。
10.2 技术文件
由于受环境因素影响,离心机的更多技术文件(如:电路图)及制冷剂厂家及润滑油厂家的安全数据表不包含在此操作手册中。
请在我公司网址www.sigma-zentrifugen.de中通过“服务需求”表来订购这些文件。
111 附录
1 附录
11.1与SIMGA 3-18K相匹配的配件
配件编号 | 描述 | 最大转速 (rpm) | 最大离心力 (x g) |
11132 | 全套28 x 15 ml 水平转子(包括水平转子no. 11133,2套(4 个)吊篮no. 13104,2套(4 个)适配器no. 17015 和 28个15ml聚苯乙烯离心管no. 15023) 最大离心半径15.5cm,最小离心半径4.5cm | 5 500 | 5 242 |
11133 | 水平转子,需配2套(4 个)吊篮 no. 13104, 13130 | 5 500 | |
11135 | 水平转子24 x 1.5 / 2.2 ml,包括3套(6 个)吊篮 no. 13124,用于离心管no. 15008, 15040,带密封铝合金盖17879 最大离心半径7.4cm,最小离心半径3.5cm | 14 000 | 16 215 |
11136 | 鼓式转子,需配6个试管架 no. 14000, 14002, 14020, 14021,用于反应管(最多 60/192pcs),带密封铝合金盖17898 最大离心半径7.0cm,最小离心半径3.0cm 注意:转速超过13000rpm时,离心管容易损坏 | 14 500 | 16 454 |
11180 | 水平转子,需配 2套( 4个)吊篮no.13180,13190,13194 | 4 700 | |
11181 | 全套48×15ml 水平转子(包括水平转子no. 11180, 2套( 4个)方形吊篮no. 13180, 2套( 4个)方形适配器no. 18015和 48个15ml聚碳酸酯离心管no. 15023) 最大离心半径17.1cm,最小离心半径7.6cm | 4 700 | 4 223 |
11182 | 全套12×50ml 尖底离心管水平转子(包括水平转子no. 11180, 2套( 4个)吊篮no. 13190, 2套( 4个)适配器no. 17346和 12个50ml 尖底离心管no. 15151) 最大离心半径17.2cm,最小离心半径7.5cm | 4 700 | 4 248 |
11222 | 酶标板转子(包括 1套( 2个)吊篮no. 13222,)酶标板最大高度56mm,每个吊篮的最大装载重量是335g 最大离心半径12.1cm,最小离心半径4.8cm | 3 000 | 1 218 |
11224 | 全套载玻片转子(包括no.11225, 2套( 4个)13224, 4个插入物15223,带有目的载玻片的吊篮可以固定在90°的位置。 最大离心半径11.3cm,最小离心半径6.9cm | 3 000 | 1 137 |
11241 | 酶标板转子(包括 1套( 2个)吊篮no. 13241, 1套( 2个)吊篮盖no. 17108及酶标夹持结构no.17982)酶标板最大高度55mm,无吊篮盖no. 17108时的高度是66mm,每个吊篮的最大装载重量是290g 最大离心半径4.4cm,最小离心半径12.7cm | 4 700 | 3 136 |
12111 | 角转子10 x 10 ml,带密封铝合金盖17835,适用于离心管no. 15000, 15010, 15039 最大离心半径7.6 cm,最小离心半径2.8 cm,角度35° | 18 000 | 27 530 |
12115 | 角转子12×8×0.2mlPCR管,带密封铝合金盖17875,适用于离心管no.15042 最大离心半径9.8cm,最小离心半径7.2 cm,角度45° | 16 400 | 29 468 |
12131 | 角转子30×1.5/2.2ml,带密封铝合金盖17848,适用于离心管no. 15008, 15040 最大离心半径10.0 cm,最小离心半径6.7 cm,角度45° | 16 400 | 30 070 |
12150 | 角转子6×50ml,带密封铝合金盖17837,适用于离心管no. 13055, 15051, 15052 最大离心半径8.4 cm,最小离心半径2.1 cm,角度25° | 14 600 | 20 018 |
配件编号 | 描述 | 最 11 附录 大转速(rpm) | 最大离心力 (x g) |
12154 | 角转子24×1.5/2.2ml,带密封铝合金盖17829,适用于离心管no. 15008, 15040 最大离心半径8.2 cm,最小离心半径5.0 cm,角度45° | 18 000 | 29 730 |
12155 | 角转子4×80/85ml,带密封铝合金盖17839,适用于离心管no. 13085, 15076, 15080 最大离心半径9.1 cm,最小离心半径1.4 cm,角度26° | 14 500 | 21 390 |
12156 | 角转子8 x 50 ml,带密封铝合金盖17840,适用于离心管no. 13055, 15051, 15052 最大离心半径9.6 cm,最小离心半径3.3 cm,角度25° | 13 800 | 20 440 |
12157 | 角转子20 x 10 ml,带密封铝合金盖17841,适用于离心管no. 15000, 15010, 15039 最大离心半径9.8 cm,最小离心半径5.8 cm,角度25° | 10 000 | 10 956 |
12158 | 角转子6×30ml,带密封铝合金盖17842,适用于离心管no. 15029, 15030, 15032,最大离心半径7.9 cm,最小离心半径2.1 cm,角度29° | 18 000 | 28 616 |
12159 | 角转子6 x 85 ml,带密封铝合金盖17843,适用于离心管no. 13085, 15076, 15080,最大离心半径9.8 cm,最小离心半径2.8 cm,角度25° | 11 400 | 14 239 |
12171 | 角转子12 x 15ml 尖底离心管,带密封铝合金盖17872,可配15ml离心管no. 15115 最大离心半径9.9 cm,最小离心半径4.3 cm,角度25° | 13 500 | 20 172 |
12349 | 角转子48×1.5/2.2ml,带密封铝合金盖17349,适用于离心管no. 15008, 15040 最大离心半径10.0 cm,最小离心半径6.5 cm | 15 000 | 25 155 |
13104 | 圆形吊篮,可配盖no. 17109和17111,适用于圆形适配器Ø 56,5 x 110 mm no. 17000-17101和200 ml 离心瓶 no. 15202(1套 = 2 个) 最大离心半径15.5cm,最小离心半径4.5cm | 5 500 | 5 242 |
13130 | 吊篮,可配盖no. 17109和17111,适用于3 x 15mL尖底离心管no. 15115(1套 = 2 个) 最大离心半径16.0cm,最小离心半径4.0cm | 5 500 | 5 411 |
13180 | 方形吊篮,可配盖no. 17112,适用于no. 18000 - 18200方形适配器,离心管最长115 mm (1套 = 2 个) 最大半径17.1cm,最小半径7.6cm。 | 4 700 | 4 223 |
13190 | 圆形吊篮,可配生物安全密封盖no. 17190,适用于圆形适配器Ø 85 x 110 mm no. 17344-17400和400 ml 离心瓶 no. 15401(1套 = 2 个), 最大离心半径17.2cm,最小离心半径7.5cm | 4 700 | 4 248 |
13194 | 吊篮,可配15 ml 和 50 ml 尖底离心管的立方体适配器no. 18309 - 18312(1套 = 2 个) 最大半径16.8cm,最小半径6.6cm。 | 4 700 | 4 149 |
适
11 附录
配器及不锈钢离心管配件编号 | 描述 |
13000 | 0.25/0.4ml离心管 no. 15014适配器,用于12110, 12131, 12154, 12349,(1套 = 2 个) |
13002 | 0.5/0.75ml离心管的适配器, 如 Ø 7.9/10 x 28/31 mm离心管 no. 15005,用于no.12110, 12131,12154, 12349,(1套 = 2 个) |
13021 | 0.2mlPCR离心管 no.15042适配器,用于 no. 12110, 12131, 12154, 12349,14002,17008,18002(1套 = 2 个) |
13055 | 50ml不锈钢离心管,Ø 28,5 x 101,5 mm,可配盖no. 17054,用于no. 12150, 12156, 13082 |
13059 | 1x10 ml离心管适配器,如 Ø 16.2/19 x 75 - 85 mm离心管no. 15000, 15010, 15039(1套 = 2 个) |
13060 | 1 x 15ml尖底离心管no. 15115适配器,(1套 = 2 个) |
13062 | 1 x 15mlGreiner圆底离心管Ø 17/22 x 95 - 100 mm适配器,用于12150(1套 = 2 个) |
13079 | 1 x 50ml离心管底部适配器,配于离心管no.15051, 15052,(1套 = 2 个) |
13080 | 1 x 50ml 尖底离心管 no. 15151适配器,(1套 = 2 个) |
13081 | 1 x 15 ml 尖底离心管 no. 15115适配器,(1套 = 2 个) |
13082 | 1 x 50 ml 离心管适配器,适用于离心管max. Ø 28,8 x 105 - 115 mm, 如 no. 13055, 15051, 15052(1套 = 2 个) |
13083 | 1 x 30 ml 离心管适配器,适用于离心管max. Ø 25,5 x 90 - 100 mm, 如 no. 15029, 15030, 15032(1套 = 2 个) |
13084 | 2 x 10ml 离心管适配器,适用于离心管max.Ø 16/17,5 x 75 - 90 mm, no. 15000, 15010, 15039(1套 = 2 个) |
13085 | 85ml不锈钢离心管,Ø 38 x 103 mm, 可配盖no. 17185, 用于no. 12155, 12159 |
13255 | 250ml不锈钢离心瓶,Ø 61,4 x 125 mm,可配盖no. 17256 |
配件的完整列表可从www.sigma-zentrifugen.de.上下载。
111 附录
1.1.1 离心管的最大转速
像离心玻璃管、微量管、培养管、聚氟离心管,特别是大容量的离心管,用在我们的转子、吊篮和适配器中时,离心速度可能会超出它们的破碎极限。
填充离心管致其有效容量(离心管规定的容量)。
使用玻璃离心管时,最大离心力不得超过4000xg(除非是特制高强度玻璃离心管,请参照厂家提供的信息)。
11.1.2 转子半径
配件表信息中涉及了各转子的相关半径值,如下所示。半径计算在第2.2.2.1章节 – “转速、半径和相对离心力”中描述。

图 26:角转子的最大半径和最小半径

图 27:水平转子的最大半径和最小半径
111 附录
1.2转速—重力加速度—示意图

图 28:转速—重力加速度—示意图
111 附录
1.3加速/减速曲线
线性曲线和二次方曲线根据加速度增大的方向进行编号(从右到左)。
同样编号的减速曲线和升速曲线呈反向图形。曲线0例外,它是无阻尼制动。
通常,达到设定转速的加速时间取决于转子的惯性。
线性曲线
加速曲线的斜率由转速升到1000rpm需要的时间来决定的。
与其他曲线相比,曲线9是一条特殊的曲线。离心机会以最大扭矩加速。加速时间仅取决于转子的惯性。
线性曲线号码 | 斜率 |
0 | 4 [rpm/sec] |
1 | 6[rpm/sec] |
2 | 8[rpm/sec] |
3 | 17[rpm/sec] |
4 | 25[rpm/sec] |
5 | 33[rpm/sec] |
6 | 50[rpm/sec] |
7 | 100[rpm/sec] |
8 | 200[rpm/sec] |
9 | 1000[rpm/sec] |
图29:线性曲线的斜率
二次方曲线
与其他曲线相比,曲线19是一条特殊的曲线。离心机会以最大扭矩加速。加速时间仅取决于转子的惯性。
二次方程曲线号码 | 转速到达1000 rpm的时间 | 在1000 rpm 时的线性斜率 |
10 | 500 sec | 4 [rpm/sec] |
11 | 333 sec | 6[rpm/sec] |
12 | 250 sec | 8[rpm/sec] |
13 | 118 sec | 17[rpm/sec] |
14 | 80 sec | 25[rpm/sec] |
15 | 60 sec | 33[rpm/sec] |
16 | 40 sec | 50[rpm/sec] |
17 | 20 sec | 100[rpm/sec] |
18 | 10 sec | 200[rpm/sec] |
19 | 2 sec | 1000[rpm/sec] |
图30:二次方曲线的斜率

11 附录
图31:线性曲线示意图

11 附录
图32:二次方曲线示意图
111 附录
1.4转子及配件使用寿命列表
如果转子或配件上没有标记任何有关使用寿命的数据,转子和吊篮在使用10000次后,必须经厂家进行检测;使用50000次后,必须更换转子。 | |||||
转子/吊篮 | 使用次数 | 使用寿命 (有效期) | 高压蒸汽灭菌次数 | 适用的离心机 | 备注 |
11026 | 7年 | 1-14,1-14K | |||
12082 | 7年 | 1-14,1-14K | |||
12083 | 7年 | 1-14,1-14K | |||
12084 | 7年 | 1-14,1-14K | |||
12085 | 7年 | 1-14,1-14K | |||
12092 | 5年 | 20x | 1-14,1-14K | ||
12093 | 5年 | 20x | 1-14,1-14K | ||
12094 | 5年 | 20x | 1-14,1-14K | ||
12096 | 5年 | 20x | 1-14,1-14K | ||
12101 | 5年 | 20x | 1-15,1-15K 1-15P,1-15PK | ||
12124 | 5年 | 20x | 1-15,1-15K 1-15P,1-15PK | ||
12126 | 5年 | 20x | 1-15,1-15K 1-15P,1-15PK | ||
12134 | 5年 | 20x | 1-16,1-16K | ||
12135 | 5年 | 20x | 1-16,1-16K | ||
9100 | 15,000 | 4-15C,4K15C,4-16, 4-16S,4-16K,4-16KS, 6-15,6K15,6-16,6-16K | 无标记,仅刻有“中文专业版”及“S面板” | ||
12500 | 7年 | 6-15,6K15,6-16,6-16K | |||
12600 | 7年 | 4-16S,4-16KS, 6-16S,6-16KS | |||
13218 | 20,000 | 4-16, 4-16S, 4-16K, 4-16KS, 6-16, 6-16S, 6-16K, 6-16KS, | |||
13635 | 25,000 | 6-16, 6-16K,6-16S,6-16KS | |||
13845 | 20,000 | 8K,8KS | |||
13850 | 10,000 | 1 | 8K,8KS,8KBS | ||
13860 | 35,000 | 8K,8KS,8KBS | |||
13864 | 1000 | 8K,8KS | 无标记 | ||
13865 | 1000 | 8K,8KS | 无标记 | ||
13866 | 1000 | 8K,8KS | 无标记 | ||
111 附录
1.5热阻性数据
20℃时的热阻性资料。

- 无数据 1 有抗性 2 实际抗性 3 部分抗性 4 无抗性 | 浓度 | 高密度聚乙烯 | 聚酰胺 | 聚碳酸酯 | 聚甲醛 | 聚丙烯 | 聚砜 | 聚乙烯氯化物,强 | 聚乙烯氯化物,弱 | 聚四氟乙烯 | 铝 | |
介质 | 分子式 | [%] | HDPE | PA | PC | POM | PP | PSU | PVC | PVC | PTFE | AL |
乙醛 | C2H4O | 40 | 3 | 2 | 4 | 2 | 3 | 4 | 4 | - | 1 | 1 |
乙酰胺 | C2H5NO | 饱和 | 1 | 1 | 4 | 1 | 1 | 4 | 4 | - | 1 | 1 |
丙酮 | C3H6O | 100 | 1 | 1 | 4 | 1 | 1 | 4 | 4 | - | 1 | 1 |
丙烯腈 | C3H3N | 100 | 1 | 1 | 4 | 3 | 3 | 4 | 4 | 4 | 1 | 1 |
烯丙醇 | C3H6O | 96 | 1 | 3 | 3 | 2 | 2 | 2 | 2 | 4 | 1 | 1 |
氯化铝 | AlCl3 | 饱和 | 1 | 3 | 2 | 4 | 1 | - | 1 | - | 1 | 4 |
硫酸铝 | Al2(SO4)3 | 10 | 1 | 1 | 1 | 3 | 1 | 1 | 1 | 1 | 1 | 1 |
氯化铵 | (NH4)Cl | 水 | 1 | 1 | 1 | 2 | 1 | 1 | 1 | 1 | 1 | 3 |
氢氧化铵 | NH3+H2O | 30 | 1 | 3 | 4 | 1 | 1 | 2 | 1 | - | 1 | 1 |
苯胺 | C6H7N | 100 | 1 | 3 | 4 | 1 | 2 | 4 | 4 | 4 | 1 | 1 |
苯甲醚 | C7H8O | 100 | 3 | 4 | 4 | 1 | 4 | 4 | 2 | - | 1 | 1 |
三氯化锑 | SbCl3 | 90 | 1 | 4 | 1 | 4 | 1 | - | 1 | - | 1 | 4 |
甲醛 | C7H6O | 100 | 1 | 3 | 4 | 1 | 1 | 3 | 4 | 4 | 1 | 1 |
苯 | C6H6 | 100 | 3 | 2 | 4 | 1 | 3 | 4 | 4 | - | 1 | 1 |
硼酸 | H3BO3 | 水 | 1 | 3 | 1 | 2 | 1 | - | - | - | 1 | 1 |
丙烯酸丁酯 | C7H12O2 | 100 | 1 | 2 | 4 | 2 | 3 | 4 | 4 | 4 | 1 | 1 |
丁醇,标准 | C4H10O | 100 | 1 | 1 | 2 | 1 | 1 | 2 | 2 | 4 | 1 | 1 |
氯化钙 | CaCl2 | 酒精 | 1 | 4 | 2 | 3 | 1 | - | - | 4 | 1 | 3 |
二硫化碳 | CS2 | 100 | 4 | 3 | 4 | 2 | 4 | 4 | 4 | 4 | 1 | 1 |
四氯化碳(TETRA) | CCl4 | 100 | 4 | 4 | 4 | 2 | 4 | 4 | 4 | 4 | 1 | 1 |
氯气 | Cl2 | 100 | 4 | 4 | 4 | 4 | 4 | 4 | 4 | 4 | 1 | 3 |
氯水 | Cl2xH2O | 3 | 4 | 4 | 4 | 3 | - | 3 | 3 | 1 | 4 | |
- 无数据 1 有抗性 2 实际抗性 3 部分抗性 4 无抗性 | 浓度 | 高密度聚乙烯 | 聚酰胺 | 聚碳酸酯 | 聚甲醛 | 聚丙烯 | 聚砜 | 聚乙烯氯化物,强 | 聚乙烯氯化物,弱 | 聚四氟乙烯 | 铝 | |
介质 | 分子式 | [%] | HDPE | PA | PC | POM | PP | PSU | PVC | PVC | PTFE | AL |
氯苯 | C6H5Cl | 100 | 3 | 4 | 4 | 1 | 3 | 4 | 4 | 4 | 1 | 1 |
氯仿 | CHCl3 | 100 | 3 | 3 | 4 | 4 | 3 | 4 | 4 | 4 | 1 | 3 |
铬酸 | CrO3 | 10 | 1 | 4 | 2 | 4 | 1 | 4 | 1 | - | 1 | 1 |
硫酸铬钾 | KCr(SO4)2x12H2O | 饱和 | 1 | 2 | 1 | 3 | 1 | - | 1 | - | 1 | 3 |
柠檬酸 | C6H8O7 | 10 | 1 | 1 | 1 | 2 | 1 | 1 | 1 | 1 | 1 | 1 |
柠檬酸 | C6H8O7 | 50 | 1 | 3 | 1 | 2 | 1 | - | - | - | 1 | 1 |
硫酸铜 | CuSO4x5H2O | 10 | 1 | 1 | 1 | 1 | 1 | 1 | 1 | 1 | 1 | 4 |
环己醇 | C6H12O | 100 | 1 | 1 | 3 | 1 | 1 | 1 | 1 | 4 | 1 | 1 |
癸 | C10H22 | 100 | - | 1 | 2 | 1 | 3 | - | - | - | 1 | 1 |
乙二胺 | C2H8N2 | 100 | 1 | 1 | 3 | 1 | 1 | - | 3 | 4 | 1 | 1 |
柴油 | -- | 100 | 1 | 1 | 3 | 1 | 1 | - | 1 | 3 | 1 | 1 |
二甲基甲酰胺(DMF) | C3D7NO | 100 | 1 | 1 | 4 | 1 | 1 | 4 | 3 | - | 1 | 1 |
二甲基亚砜(DMSO) | C2H6SO | 100 | 1 | 2 | 4 | 1 | 1 | 4 | 4 | - | 1 | 1 |
二甲基苯胺 | C8H11N | 100 | - | 3 | 4 | 2 | 4 | - | - | - | 1 | 1 |
二恶烷 | C4H8O2 | 100 | 2 | 1 | 4 | 1 | 3 | 2 | 3 | 4 | 1 | 1 |
二丙二醇(mono)甲醚 | C4H10O | 100 | 3 | 1 | 4 | 1 | 4 | 4 | 4 | 4 | 1 | 1 |
乙酸乙酯 | C4H8O2 | 100 | 1 | 1 | 4 | 1 | 1 | 4 | 4 | 4 | 1 | 1 |
氯化乙烯 | C2H4Cl2 | 100 | 3 | 3 | 4 | 1 | 3 | 4 | 4 | 4 | 1 | 1 |
氯化亚铁 | FeCl2 | 饱和 | 1 | 3 | 1 | 3 | 1 | 1 | 1 | 1 | 1 | 4 |
甲醛溶液 | CH2O | 30 | 1 | 3 | 1 | 1 | 1 | - | - | - | 1 | 1 |
甲酸 | CH2O2 | 100 | 1 | 4 | 3 | 4 | 1 | 3 | 3 | 1 | 1 | 1 |
糠醛 | C5H4O2 | 100 | 1 | 3 | 3 | 2 | 4 | - | - | - | 1 | 1 |
汽油 | C5H12-C12H26 | 100 | 2 | 1 | 3 | 1 | 3 | 3 | 2 | - | 1 | 1 |
甘油 | C3H8O3 | 100 | 1 | 1 | 3 | 1 | 1 | 1 | 1 | 2 | 1 | 1 |
庚烷,标准 | C7H16 | 100 | 2 | 1 | 1 | 1 | 2 | 1 | 2 | 4 | 1 | 1 |
正己烷,n- | C6H14 | 100 | 2 | 1 | 2 | 1 | 2 | 1 | 2 | 4 | 1 | 1 |
氯化氢 | HCl | 5 | 1 | 4 | 1 | 4 | 1 | 1 | 1 | - | 1 | 4 |
11 附录
- 无数据 1 有抗性 2 实际抗性 3 部分抗性 4 无抗性 | 浓度 | 高密度聚乙烯 | 聚酰胺 | 聚碳酸酯 | 聚甲醛 | 聚丙烯 | 聚砜 | 聚乙烯氯化物,强 | 聚乙烯氯化物,弱 | 聚四氟乙烯 | 铝 | |
介质 | 分子式 | [%] | HDPE | PA | PC | POM | PP | PSU | PVC | PVC | PTFE | AL |
氯化氢 | HCl | 浓缩 | 1 | 4 | 4 | 4 | 1 | 1 | 2 | 3 | 1 | 4 |
过氧化氢 | H2O2 | 3 | 1 | 3 | 1 | 1 | 1 | 1 | 1 | - | 1 | 3 |
过氧化氢 | H2O2 | 30 | 1 | 4 | 1 | 4 | 1 | 1 | 1 | - | 1 | 3 |
硫化氢 | H2S | 10 | 1 | 1 | 1 | 1 | 1 | 1 | 1 | 3 | 1 | 1 |
碘酊 | I2 | 1 | 4 | 3 | 1 | 1 | - | 4 | 4 | 1 | 1 | |
异丙醇 | C3H8O | 100 | 1 | 1 | 1 | 1 | 1 | 1 | 1 | 4 | 1 | 2 |
乳酸 | C3H6O3 | 3 | 1 | 3 | 1 | 2 | 1 | 1 | 2 | - | 1 | 1 |
氯化镁 | MgCl2 | 10 | 1 | 1 | 1 | 1 | 1 | 1 | 1 | 1 | 1 | 1 |
氯化汞 | HgCl2 | 10 | 1 | 4 | 1 | 3 | 1 | 1 | 1 | 1 | 1 | 4 |
汞 | Hg | 100 | 1 | 1 | 1 | 1 | 1 | 1 | 1 | 3 | 1 | 3 |
醋酸甲酯 | C3H6O2 | 100 | 1 | 1 | 4 | 2 | 1 | - | 4 | 4 | 1 | 1 |
甲醇 | CH4O | 100 | 1 | 2 | 4 | 1 | 1 | 3 | 1 | 3 | 1 | 1 |
甲基苯 | C7H8 | 100 | 3 | 1 | 4 | 1 | 3 | 4 | 4 | 4 | 1 | 1 |
甲基乙基酮(MEK) | C4H8O | 100 | 1 | 1 | 4 | 1 | 1 | 4 | 4 | 4 | 1 | 1 |
二氯甲烷 | CH2Cl2 | 100 | 4 | 3 | 4 | 3 | 3 | 4 | 4 | 4 | 1 | 1 |
矿物油 | -- | 100 | 1 | 1 | 1 | 1 | 1 | 1 | 1 | - | 1 | 1 |
硝酸 | HNO3 | 10 | 1 | 4 | 1 | 4 | 1 | 1 | 1 | - | 1 | 3 |
硝酸 | HNO3 | 100 | 4 | 4 | 4 | 4 | 4 | - | 4 | - | 1 | 1 |
硝基苯 | C6H5NO2 | 100 | 3 | 4 | 4 | 3 | 2 | 4 | 4 | 4 | 1 | 1 |
油酸 | C18H34O2 | 100 | 1 | 1 | 1 | 2 | 1 | - | 1 | - | 1 | 1 |
草酸 | C2H2O4x2H2O | 100 | 1 | 3 | 1 | 4 | 1 | 1 | 1 | 1 | 1 | 1 |
臭氧 | O3 | 100 | 3 | 4 | 1 | 4 | 3 | 1 | 1 | - | 1 | 2 |
石油 | -- | 100 | 1 | 1 | 3 | 1 | 1 | 1 | 1 | 3 | 1 | 1 |
苯酚 | C6H6O | 10 | 1 | 4 | 4 | 4 | 1 | 4 | 1 | 3 | 1 | 1 |
苯酚 | C6H6O | 100 | 2 | 4 | 4 | 4 | 1 | 3 | 4 | 3 | 1 | 1 |
磷酸 | H3PO4 | 20 | 1 | 4 | 2 | 4 | 1 | - | - | - | 1 | 4 |
五氯化磷 | PCl5 | 100 | - | 4 | 4 | 4 | 1 | - | 4 | 4 | 1 | 1 |
碳酸氢钾 | CHKO3 | 饱和 | 1 | 1 | 2 | 1 | 1 | - | - | - | 1 | 4 |
碳酸氢钾 | CHKO3 | 饱和 | 1 | 1 | 2 | 1 | 1 | - | - | - | 1 | 4 |
11 附录
11 附录
- 无数据 1 有抗性 2 实际抗性 3 部分抗性 4 无抗性 | 浓度 | 高密度聚乙烯 | 聚酰胺 | 聚碳酸酯 | 聚甲醛 | 聚丙烯 | 聚砜 | 聚乙烯氯化物,强 | 聚乙烯氯化物,弱 | 聚四氟乙烯 | 铝 | |
介质 | 分子式 | [%] | HDPE | PA | PC | POM | PP | PSU | PVC | PVC | PTFE | AL |
氢氧化钾 | KOH | 30 | 1 | 1 | 4 | 3 | 1 | 1 | 1 | 1 | 1 | 4 |
氢氧化钾 | KOH | 50 | 1 | 1 | 4 | 3 | 1 | 1 | 1 | 1 | 1 | 4 |
硝酸钾 | KNO3 | 10 | 1 | 1 | 1 | 1 | 1 | - | - | - | 1 | 1 |
高锰酸钾 | KMnO4 | 100 | 1 | 4 | 1 | 1 | 1 | - | 1 | - | 1 | 1 |
吡啶 | C5H5N | 100 | 1 | 1 | 4 | 1 | 3 | 4 | 4 | 4 | 1 | 1 |
间苯二酚 | C6H6O2 | 5 | 1 | 4 | 2 | 3 | 1 | 4 | 2 | - | 1 | 2 |
硝酸银 | AgNO3 | 100 | 1 | 1 | 1 | 1 | 1 | 1 | 1 | 1 | 1 | 4 |
亚硫酸氢钠 | NaHSO3 | 10 | 1 | 1 | 2 | 4 | 1 | - | - | - | 1 | 1 |
碳酸钠 | Na2CO3 | 10 | 1 | 1 | 1 | 1 | 1 | - | - | - | 1 | 3 |
氯化钠 | NaCl | 30 | 1 | 1 | 1 | 1 | 1 | 1 | 1 | 1 | 1 | 3 |
氢氧化钠 | NaOH | 30 | 1 | 1 | 4 | 1 | 1 | 1 | 1 | 1 | 1 | 4 |
氢氧化钠 | NaOH | 50 | 1 | 1 | 4 | 1 | 1 | 1 | 1 | - | 1 | 4 |
硫酸钠 | Na2SO4 | 10 | 1 | 1 | 1 | 1 | 1 | 1 | 1 | 1 | 1 | 1 |
烈酒 | C2H6O | 96 | 1 | 1 | 1 | 1 | 1 | 1 | 1 | 3 | 1 | 1 |
苯乙烯 | C8H8 | 100 | 4 | 1 | 4 | 1 | 3 | - | 4 | 4 | 1 | 1 |
硫酸 | H2SO4 | 6 | 1 | 4 | 1 | 4 | 1 | 1 | 1 | - | 1 | 3 |
硫酸 | H2SO4 | 烟雾 | 4 | 4 | 4 | 4 | 4 | 4 | 4 | 4 | 1 | 3 |
动物脂 | — | 100 | 1 | 1 | 1 | 1 | 1 | - | 1 | 1 | 1 | 1 |
四氢呋喃(THF) | C4H8O | 100 | 3 | 1 | 4 | 1 | 3 | 4 | 4 | 4 | 1 | 1 |
四氢 | C10H12 | 100 | 3 | 1 | 4 | 1 | 4 | 4 | 4 | 4 | 1 | 1 |
亚硫酰氯 | Cl2SO | 100 | 4 | 4 | 4 | 2 | 4 | 4 | 4 | 4 | 1 | 3 |
变压器油 | — | 100 | 1 | 1 | 3 | 3 | 1 | 1 | 1 | - | 1 | 1 |
三氯乙烷 | C2H3Cl3 | 100 | 3 | 3 | 4 | 2 | 4 | 4 | 4 | 4 | 1 | 4 |
尿素 | CH4N2O | 10 | 1 | 1 | 1 | 1 | 1 | - | - | - | 1 | 1 |
尿 | — | 100 | 1 | 1 | 1 | 1 | 1 | - | 1 | 1 | 1 | 2 |
醋 | C2H4O2 | 10 | 1 | 4 | 1 | 1 | 1 | 1 | 1 | 1 | 1 | 1 |
醋 | C2H4O2 | 90 | 1 | 4 | 4 | 4 | 1 | 3 | 1 | 4 | 1 | 1 |
蜡 | — | 100 | - | 1 | 1 | 1 | - | - | - | 1 | 1 | |
- 无数据 1 有抗性 2 实际抗性 3 部分抗性 4 无抗性 | 浓度 | 高密度聚乙烯 | 聚酰胺 | 聚碳酸酯 | 聚甲醛 | 聚丙烯 | 聚砜 | 聚乙烯氯化物,强 | 聚乙烯氯化物,弱 | 聚四氟乙烯 | 铝 | |
介质 | 分子式 | [%] | HDPE | PA | PC | POM | PP | PSU | PVC | PVC | PTFE | AL |
葡萄酒 | — | 100 | 1 | 1 | 1 | 2 | 1 | 1 | 1 | 1 | 1 | 4 |
二甲苯 | C8H10 | 100 | 3 | 1 | 4 | 1 | 4 | 4 | 4 | 4 | 1 | 1 |
氯化锌 | SnCl2 | 10 | 1 | 4 | 2 | 2 | 1 | - | - | - | 1 | 4 |
11 附录
11 附录
111 附录
1.6 EC认证声明

EC认证声明
下列开发、设计、生产的产品符合EC指令和准则关于基本安全和健康要求的规定。如果不经我们授权而做出修改或产品不用于预期使用的范围,此声明将失效。
设备名称:离心机
型号 :Sigma 3-18KS, Sigma 3-18KHS
部件编号:10370, 10371, 10372, 10373, 10374
执行: 2006/42/EG 机械标准
2006/95/EG 低电压标准
2004/108/EG EMC标准
标准:EN 61010-2-020:2007
EN 61000-3-2:2006, A1:2008, A2:2009
EN61000-3-3:2008
EN 61326-1:2006
Sigma Laborzentrifugen
An der Unteren Söse 50文件授权代表:
D
-37520 Osterode
德国
Osterode , 04.06.2012
![]()
总经理
3-18KS_2012-06-04_en.doc
11 附录
